BTC/HKD+0.09%
ETH/HKD-0.32%
LTC/HKD-0.22%
ADA/HKD-1.25%
SOL/HKD-0.35%
XRP/HKD-0.42%我們需要將NFT轉移到第2層生態系統以降低費用。然而,這樣正確做到這一點需要良好的跨Rollup可移植性標準,從而生態系統可以避免被鎖定在一個特定的L2中。——VitalikButerin
NFT生態系統正在迅速發展,已經成為以太坊鏈gas消耗的重要組成部分。NFT生態系統的年輕化和相對缺乏根基,以及由于NFT的很大一部分的非金融性質而更需要避免高額費用,這也使得NFT成為轉移到第2層網絡的主要目標。然而,這就提出了如何將NFT遷移到Layer2的問題。
一個簡單的提案是:在社區內協調將NFT遷移到單個Rollup平臺,但這存在一些重要的缺點:
所有現有的支持EVM的主要Rollup平臺都有后門、集中排序或其他實驗性功能,將整個生態系統交給單個Rollup是有風險的,而Rollup將如何超越這些功能存在不確定性。
SKALE即將發布去中心化零知識證明解決方案Levitation Protocol:6月2日消息,以太坊側鏈 SKALE 開發人員宣布了一項 SKALE 改進提案,即,去中心化零知識證明解決方案 Levitation Protocol,旨在通過使全套 ZK 解決方案無縫連接到 SKALE 架構,并將 Rollup 連接到以太坊主網。該提案包括進一步的生態系統升級,增加了一個新的「Layer 1 Megachain」,稱為 SKALE G(G 代表木衛三,太陽系中最大的衛星)。
SKALE 開發人員計劃在未來幾個月內開始發布 Levitation Protocol 源代碼,之后將啟動公共測試網。Levitation Protocol 主網計劃于 2023 年第四季度推出。[2023/6/2 11:53:31]
NFT生態系統可能會變得太大,以至于單個Rollup無法安全處理
加速器Graviton推出5萬美元的Web3初創企業扶持資金:金色財經報道,加速器Graviton宣布一項計劃,旨在幫助印度 Web 3.0 初創企業獲得高達 50,000 美元的資金。該公司正在與 Hashkey Capital、NGC Ventures、Ascensive Assets、Moonrock Capital、369 Capital 和 Stacker Ventures 等風險投資公司合作。[2023/1/21 11:24:02]
NFT生態系統的任何部分,甚至整個NFT生態系統,都不是封閉的世界;他們將需要與以太坊生態系統的其他部分進行互操作
這篇文章提出了一種關于如何使NFT跨Rollup友好的提案,允許NFT移動到整個Layer2生態系統。
Vitalik為印度新冠援救運動捐贈100個枚ETH和100枚MKR:4月25日,Polygon聯合創始人Sandeep推特顯示,Vitalik為印度新冠援救運動捐贈超60萬美元加密貨幣。目前印度新冠疫情嚴重,Polygon聯合創始人Sandeep發起了援救運動,發動加密貨幣圈提供幫助。根據Etherscan信息,以太坊聯合創始人 Vitalik Buterin 已經捐贈已捐贈了 100 個 ETH 和 100 個 MKR。[2021/4/25 20:55:41]
提議的解決方案1
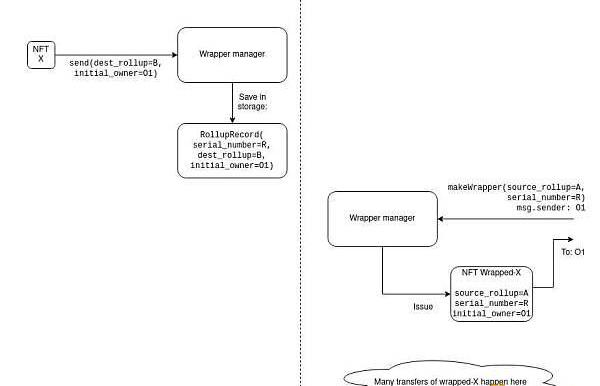
NFT將首先在一個Rollup中注冊。通過創建一個封裝NFT,NFT可以在其他Rollup之間跳轉。
封裝NFT的過程如下:
在RollupA上,將NFT發送到封裝管理器合約,指定(i)目的地Rollup和(ii)初始所有者。密碼箱合約在存儲中保存一條記錄,為X分配一個新的序列號R,并保存目標Rollup和目標Rollup的初始所有者
聲音 | 以太坊創始人Vitalik Buterin:用異步交易解決跨分片交易:金色財經現場報道,6月29日在2019以太坊技術及應用大會上,以太坊創始人Vitalik Buterin指出,以太坊鏈被分為1024片,通過cross-link進行分片間的交流,每6分鐘每個分片發現其他分片的哈希值。信標鏈管理共識算法和跨分片的溝通。進一步提出了異步交易,第一步:一個A分片上發出交易,第二步:6分鐘片間交流傳播交易,第三步:在另一個B分片上記錄。[2019/6/29]
在RollupB上,任何人都可以使用RollupB上的封裝管理器合約創建封裝NFT。創建一個封裝NFT需要指定源Rollup和序列號。創建X的一個「有效」封裝NFT只能由指定的所有者并通過聲明(R,A)作為序列號和源Rollup來完成。請注意,可能會創建一個無指向內容的無效封裝NFT;RollupB不知道什么是有效和無效。封裝管理器合約存儲元組并防止使用同一個元組創建多個NFT。
要從密碼箱中提取NFT,RollupB上的封裝-X的當前所有者必須將其發送回封裝管理器,后者會發出收據,說明「序列號為R、源匯總A和初始所有者O1的NFT剛剛接觸封裝,帶有想要的新所有者O2」。
密碼箱合約可以在收到匯總B上的收據的證明時將X交給O2,并根據自己存儲的信息檢查序列號、源Rollup和初始所有者,并驗證它是否通過。


請注意,提款會有一個時間延遲,因為OptimisticRollup狀態根需要大約1周的時間延遲才能最終確定,以便驗證收據。到目前為止,更快地進行多跳的唯一方法是進行多層封裝。
為了讓用戶驗證封裝-X是否合法,他們需要自己驗證RollupB上的狀態和RollupA上的收據。
擴展:添加跨Rollup傳輸
在匯總B上,wrapped-X的所有者可以將其發送給包裝管理器,并附上發出不同收據的指令:「序列號為R、源RollupA和初始所有者O1的NFT剛剛移至RollupC,與想要的新所有者O2」。
在RollupC上,任何人都可以通過指定原始源Rollup、序列號和初始所有者來制作封裝-X對象,并且RollupC上的此封裝-X可以自由交易。但是,為了能夠撤回封裝-X,需要將RollupB的收據發送到RollupA。
實際發生的事情是,當NFT從一個Rollup移動到另一個Rollup時,轉移鏈留下了一個收據鏈,該收據鏈中的每一個收據都被鏡像到RollupA并在某個時間點按順序處理。未來,當其他Rollup的狀態最終確定時。
為了讓用戶驗證封裝的X是合法的,他們需要驗證反映跨Rollup轉移的所有Rollup上的整個收據鏈。
此外請注意,該協議可以簡化:「提款」只是一個跨Rollup轉移RollupA,如果認識到RollupA發布的特定序列號現在在RollupA上,那么該封裝的合約可以直接兌換。
擴展2:基礎鏈上的gas優化發行
所有NFT都可以以這樣的方式發行,即它們由以太坊基礎鏈上的密碼箱合約「擁有」。為了使這種gas高效,密碼箱合約將獲得生成一整套序列號并將它們傳輸到Rollup的功能。實際上,所有NFT都是預先創建的,但尚未分配給其中任何一個「意義」,并且它們被批量轉移到Rollup。
「發行」的過程現在變成了賦予意義的過程。這可以通過在收據中傳遞「含義哈希」來完成,就像傳遞所有者的方式一樣:如果NFT沒有意義,所有者可以為其分配一個含義,轉動它變成了一個「差異化」的NFT。基礎鏈只有在驗證收據鏈后才知道NFT的含義,直到分配含義為止。
這允許所有NFT都在基礎鏈中「扎根」,而不是Rollup。這對于處理Rollup中斷或以其他方式變得不可行以及應用需要永久遷移到其他域的情況很有用。
黑底白字Loot席卷NFT社區這兩天,全朋友圈都在發這樣的黑底白字的圖片,還沒等本序序反應過來,這玩意兒已經價值1億美元了,Loot,徹底火了!據最新OpenSea數據顯示.
1900/1/1 0:00:00原文標題:《BitMEX創始人:JPEG來襲,何懼?5大NFT交易策略拿去》 一個真正的交易員會在任何東西上做市.
1900/1/1 0:00:009月7日消息,世界經濟論壇近日發布報告稱四大因素推動了全球采用加密貨幣的浪潮。首先是各國央行政策、惡性通貨膨脹及宏觀經濟不穩定導致法定貨幣相對于其他全球貨幣的波動和貶值.
1900/1/1 0:00:001.深度解析:NFT的過去、現在與未來現在很難看到,因為現在還很早,NFT仍然感覺像一個玩具,但公司已經開始利用NFT進行營銷,而且他們很快就會使NFT成為其商業模式的核心部分.
1900/1/1 0:00:00以太坊錢包可以讓您訪問和管理以太坊帳戶,作為與DEFI、NFT連接的文化樂高,上鏈身份管理的DAO,超越bankless金融服務的網關。因此,您設置錢包的方式將塑造您在加密經濟中的體驗.
1900/1/1 0:00:001.區塊鏈之后上市公司集體再擁“元宇宙”隨著元宇宙的出圈,這把火逐步燒到了A股市場。9月8日,多只元宇宙概念股滿屏漲停,大有當年上市公司集體擁抱“區塊鏈”的勢頭.
1900/1/1 0:00:00