BTC/HKD-1.68%
ETH/HKD-2.8%
LTC/HKD-1.25%
ADA/HKD-2.25%
SOL/HKD-4.86%
XRP/HKD-3.04%在本篇研究報告中,作者將從不同的網絡范式出發,探討分析用戶數據隱私該如何保護。
在經歷了以“門戶網站”為代表的Web 1.0和以“社交平臺”為代表的Web 2.0之后,互聯網商業及技術的迭代,讓用戶逐漸習慣了從網絡上免費獲取各類資源和數據,當平臺出現一些付費產品,用戶仍傾向于尋找其他的免費渠道。互聯網市場為什么會提供免費產品和服務?市場上是否真的存在一批熱心的“慈善家”為用戶提供免費的網絡“午餐”?平臺通過免費產品或服務吸引用戶,然后收集了大量與平臺無關的用戶身份數據及行為數據,再通過轉讓、精準用戶畫像、廣告等渠道將用戶數據變現(如圖1所示),而這種變現模式為平臺帶來的收益遠高于依靠“資源訂閱模式”所獲取的收益。
   
圖1:用戶數據流通(資料來源:作者自繪)
在以犧牲個人數據換取免費網絡資源的大背景下,一批有志之士開始了對互聯網平臺的反抗,包括萬維網之父Tim Berners-Lee、以太坊共同創始人 Gavin Wood等人提出了以保護用戶隱私為目標的新一代互聯網Web 3.0,在萬向區塊鏈研報總第230期《Web3架構雛形及其中間件》中詳細介紹了三種類型Web 3.0,分別是:注重隱私保護的語義Web 3.0、注重隱私和數據所有權及控制權的公鏈Web 3.0,以及將Web 3.0描述為空間網的Web 3.0(元宇宙)。
數據隱私保護介紹
數據的隱私保護具體指的是什么?在萬向區塊鏈研報總第173期《從用戶畫像實現看數據隱私問題》,我們將用戶畫像數據分為兩類,一類是用戶的身份數據;還有一類是與用戶身份數據關聯的行為數據,包括時間、地點和事件等。當下市場的主流觀點認為:只要可以切斷用戶身份數據與行為數據之間的關聯,就能夠有效地保護用戶隱私。圍繞該方向,市場上涌現出兩類解決方案:一類是基于Web 2.0的發展問題而出現的用戶隱私保護方案,主要參與者包括手機廠商和所有的互聯網平臺;另一類是應用各種分布式技術及隱私技術提出的Web3.0用戶數據隱私保護方案。下面我們詳細對比下兩種思路。
?META第四季度營收321.7億美元,Facebook月活用戶數29.6億:2月2日消息,META第四季度營收321.7億美元,市場預期316.5億美元;四季度Facebook月活用戶數29.6億,分析師預期29.8億;四季度Facebook日活用戶數20.0億,分析師預期19.8億;四季度Reality Labs收入7.27億美元,分析師預期6.52億美元;
四季度APP家族收入314.4億美元,分析師預期308.1億美元;預計一季度收入260-285億美元,分析師預期272.5億美元。公司宣布400億美元股票回購計劃。(鞭牛士)[2023/2/2 11:42:09]
(一)Web 2.0用戶數據隱私保護
Web 2.0階段,迫于各國政府部門對互聯網數據的監管壓力,用戶數據隱私管理才逐漸被互聯網平臺重視,在萬向區塊鏈研報總第215期《2021年行業回顧:監管篇》,我們詳細羅列了包括歐盟和中國頒布的個人數據保護法案及要點,法案對平臺處理個人信息的規則、個人權利、義務和責任等做出詳細規定,其中明確要求平臺在處理個人信息前,需取得個人同意并以此保護個人的數據隱私。
兩類參與者—手機廠商和互聯網平臺,分別從不同出發點提出了兩種完全不同的用戶數據隱私解決方案。
1、手機廠商提出的用戶隱私解決方案
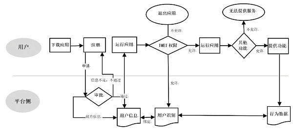
IMEI碼(國際移動設備標識碼)如同每臺手機的身份證,每個IMEI碼都是獨一無二的,如圖2所示,即使用戶在不輸入賬戶名和密碼的情況下,互聯網平臺也能夠通過設備的IMEI碼關聯到具體的用戶身份。為了防止互聯網平臺過度采集用戶的行為數據,手機廠商開發了OAID(匿名設備標識符)技術,在互聯網平臺讀取設備IMEI碼時,設備會提供一個虛擬ID來替代IMEI碼,且每次提供的ID都是隨機的,讓互聯網平臺無法關聯到具體的用戶身份。
   
圖2:應用數據采集過程(資料來源:作者自繪)
上述方法在用戶不輸入賬戶名和密碼的情況下起到個人數據隱私保護作用,一旦用戶登錄個人賬戶,就等于將身份數據告知應用平臺,OAID技術的功能也就此失效。由于早期手機廠商對數據管理不夠重視,用戶在下載互聯網應用后會被默認開啟對所有數據的訪問權限,這導致互聯網平臺肆無忌憚的采集了大量與業務無關的用戶數據。在這種情況下,手機廠商為了保證設備的隱私安全性,增加了互聯網平臺數據使用的強提醒功能并讓用戶對數據的使用進行授權。以相冊數據的使用為例,如圖3所示,蘋果手機的相冊數據授權分為三種模式,分別為所有照片、選中的照片和無,該授權讓用戶對照片數據擁有了更加細顆粒度的管理能力,尤其是 “選中的照片”功能,讓互聯網平臺只能采集到用戶希望展示的照片,從本地段對數據采集的范圍進行了限制。
ConsenSys更新隱私政策:將用戶數據留存時間縮短到7天:金色財經報道,ConsenSys表示,根據我們的數據保留政策,正在努力將用戶留存時間縮短到7天,我們將在即將發布的更新中將這些留存政策附加到隱私政策中。上個月,ConsenSys更新了其隱私政策,稱它在MetaMask用戶使用基礎設施服務Infura時收集他們的IP地址和錢包地址,Infura也屬于ConsenSys。Infura是MetaMask用戶連接以太坊區塊鏈的默認方式。ConsenSys還表示,它打算將數據收集限制在鏈上交易,而不僅僅是在用戶查看賬戶余額時。這將減少收集數據的次數。它將使用戶在未來的更新中更容易添加第三方RPC提供程序,為用戶提供更多選擇。這將使用戶更容易使用Infura的替代服務,并避免ConsenSys的數據收集。[2022/12/6 21:26:28]
   
圖3:蘋果手機個人數據管理授權(資料來源:蘋果手機截圖)
2、平臺提出的用戶隱私解決方案
相較于手機廠商的主動式保護,互聯網平臺則是迫于各種數據保護法案的壓力,被動的提出了用戶隱私保護方案,被動的原因不難理解,從2021年財報中可以發現,廣告收益是各互聯網平臺發展中非常重要的一部分,如圖4所示,2021年拼多多、微博的廣告收益占比總收入80%以上,快手、百度超過50%。廣告價值的核心源于數據,如果互聯網平臺開始主動實施用戶數據的隱私保護,就意味著愿意放棄現有的商業模式,這與互聯網平臺的經濟模式背道而馳。
   
圖4:2021年各互聯網公司廣告收入占比(資料來源:各公司財報)
互聯網平臺所提出的用戶隱私保護方案,僅僅是為了迎合相關法律法規的監管要求,在《中華人民共和國個人信息保護法》實施后,如圖5所示,各大平臺紛紛增加或調整了個人隱私設置界面,并對用戶數據收集類型、使用范圍、使用方式等做出詳細說明,讓用戶對個人數據的使用有更多地選擇權。
“Move to Earn“應用STEPN日活用戶數突破30萬:4月18日消息,“Move to Earn“應用STEPN發推表示,游戲日活躍用戶數已突破30萬人,全球同時在線跑步用戶超過5萬人,目前為50334人。
此前報道,4月8日,STEPN日活用戶數突破20萬,全球同時在線跑步用戶超過3萬人。[2022/4/18 14:31:04]
   
圖5:微信、抖音、知乎的應用設置界面
(資料來源:微信、抖音、知乎應用設置界面截圖)
3、小結
手機廠商對用戶數據的隱私保護與其經濟模式相關,即通過提升手機的銷量來增加收益,而設備的隱私安全性能對銷量會產生極大影響,因此不難理解為什么手機廠商會致力于開發OAID技術和各種數據授權功能來提升用戶數據的隱私保護。相較于手機廠商,互聯網平臺提出的用戶隱私保護方案僅為了滿足監管合規要求,與他們的經濟模式無關,甚至背道而馳,這也不難解釋為什么互聯網平臺對用戶隱私的解決方案是被動的,當下所提出的隱私保護僅是對數據使用的一些說明,而缺少一些主動地保護措施,當用戶的數據被采集后是否被用于畫像,是否被交易等,用戶仍然無從得知,究其原因是用戶數據被存儲在互聯網平臺的中心化服務器里,用戶缺少對中心化服務器的控制權。
Web 3.0用戶身份隱私保護方案
Web 2.0背景下,用戶數據的隱私和安全假設是基于對平臺的信任和對政府部門監管的信任,但用戶仍然缺少對個人數據的控制權。為解決該問題,Web 3.0背景下提出的用戶數據隱私保護方案,都是圍繞著對個人數據的控制權進行構思。
   
圖6:用戶登錄方式對比(資料來源:James Beck)
如圖6所示,在Web 1.0階段,用戶使用用戶名和密碼登錄賬戶;當進入Web 2.0階段,用戶無需再為記錄賬號及密碼發愁,也無需因重復輸入身份信息而煩惱,只需要點擊“Sign in with”或“Continue with”授權Twitter、Google、Facebook等應用的賬戶信息,讓身份數據通過API、SDK被其他應用抓取或讀取,在沒有輸入賬戶名和密碼的情況下完成用戶身份的驗證。這種方式雖然提升了用戶體驗,但換之而來的是Twitter、Google等互聯網巨頭采集到更多的用戶行為數據。無論Web 1.0還是Web 2.0,用戶數據都存儲在中心化服務器里,用戶缺少控制權。
SumSwap會員認購用戶數已突破500人:據官方消息,SumSwap會員認購用戶數已突破500人。
SumSwap是一款由英國區塊鏈技術極客對眾多優秀DeFi深入研究后,開發的一款數學創新型以太坊去中心化協議,項目不僅擁有當下DeFi眾多優點,還設計了強大的各類數學模型,是當下最有競爭力的DeFi之一。據了解,當前SumSwap 以太坊Layer2版本正在研發中。[2021/5/10 21:42:43]
為了解決控制權的問題,基于W3C提出的分布式身份標識符DID,通過一個字符串替代明文的個人身份信息,與字符串映射的行為數據均存儲在用戶可控的服務器中。圍繞DID的核心理念,當前有兩種身份隱私解決方案:第一種以uPort為代表的分布式應用DApp,用一串代理合約地址代替身份信息的標識符(如圖7所示),其他平臺可以通過識別代理合約地址來完成身份驗證,以此取代Twitter、Google等中心化應用的授權并掌握數據的控制權;第二種是在不同時間、不同平臺、不同目的生成不同的標識符(如圖8所示),再將數據存儲到支持該協議的身份錢包,以此掌握個人數據的控制權。
   
圖7:身份標識符與DApp一對一映射(資源來源:作者自繪)
   
圖8:身份標識符與DApp多對一映射(資源來源:作者自繪)
(一)身份標識符與DApp一對一的用戶隱私解決方案
我們以Consensys在2017年推出的uPort為例介紹,與“Sign in with Twitter”及“Continue with Facebook”功能類似,如圖9所示,uPort也提供了“Continue with uPort”功能,讓用戶能夠對其他平臺進行身份驗證以及無密登錄。
   
分析 | Trefis:用戶數量和交易量回升將有助比特幣年底達到8500美元:據etftrends報道,股價分析公司Trefis表示,未來幾個月,比特幣網絡上的獨立用戶數量和交易量應該會穩步回升,這有助于比特幣價格在年底前達到8500美元左右。就像任何東西的價格一樣,比特幣的基本價格主要取決于需求和供應。對比特幣的需求主要受兩個因素驅動,活躍用戶數量以及交易量。在供應方面,可用的比特幣數量有上限,大約80%已被開采。因此,關注用戶和交易量方面的需求是明智的。[2018/9/15]
圖9:uPort登錄授權(資料來源:應用界面截圖)
與中心化平臺的區別在于,uPort是一款用戶可控且獨立的分布式身份服務平臺,技術層面實現兩方面功能:第一,用戶對uPort的身份數據有直接的控制權,即用戶可以自行決定展示什么信息給第三方平臺;第二,身份相關數據存儲在用戶有控制權的服務器,即用戶能決定存儲哪些數據,存儲多長時間以及誰能閱讀這些數據。
首先是數據的控制權,和前面介紹的蘋果手機權限設置一樣,用戶在uPort中可以管理及控制個人數據,與傳統App不同的是,DApp只是一個便于用戶連接數據存儲服務器的工具,即使uPort的DApp不再提供服務,它也帶不走用戶的數據,用戶依然可以使用助記詞或密鑰通過其他工具(如Metamask或Imtoken等分布式應用)找回數據,這個過程中最關鍵的點在于數據需要存儲在用戶可控的地址。在用戶身份驗證過程中,只要Twitter、Facebook等中心化平臺支持uPort,即可通過uPort授權并在加密環境下完成身份驗證。這個過程中,互聯網平臺只能得到一個代理合約地址(一個代理合約地址相當于一個分布式身份標識符),而無從得知其他具體的驗證信息。
前面提到Web 2.0用戶沒有個人數據的控制權,主要原因在于用戶數據存儲在中心化服務器中,就此問題,Web 3.0的數據存儲方式有兩種解決方案,以創作平臺Mirror為例,第一種存儲方式是分布式存儲方案,文件大小在1M以下的會通過Arweave實現永久存儲,數據被分片且加密存儲在分布式服務器中,僅持有Arweave鏈上私鑰的用戶才能拿到完整數據,其他人員均無法獲得;出于成本考慮,對于1M以上(如視頻或圖片等)的文件會使用第二種方式,存儲在Mirror定向的一個中心化服務器中,這種方式無法保證數據的隱私及安全,只要Mirror停止對中心化服務器的維護,所有的用戶數據也將隨之而丟失。需要解釋的是,Mirror為什么提出兩種存儲方案?原因在于當前所有的數據存儲所產生的費用都是由Mirror暫時補貼,如果用戶希望將1M以上的文件也通過Arweave存儲,就需要自己支付一定的成本。
上述內容是用戶通過拿回數據控制權解決數據隱私問題,但它并不是絕對的,uPort讓用戶得到了數據控制權,但在一定程度上可能仍無法保護數據的隱私。通常uPort對應的每個身份標識符(代理合約地址)是唯一的,如果鏈上大量數據關聯到該代理地址,通過一些第三方工具(如巨鯨分析)仍然可以判斷用戶的身份,無法真正切斷用戶身份與行為數據的關聯。為解決該問題,在公鏈上,Aztec的zk.money放棄了以太坊賬戶體系,轉為UTXO體系使用零知識證明,通過票據記賬形式完成所有權變更,讓第三方無法追蹤具體的地址。除零知識證明以外,如以太坊混幣器tornado.cash,利用智能合約作為交易過程中的黑盒,來打破發送者和接受者的聯系,第三方也無法追蹤到具體的地址。無論是零知識證明還是混幣器,都能夠有效解決鏈上地址暴露而導致的資產交易數據公開問題,但在實體經濟應用中,面對海量且類型豐富的個人身份及行為數據,簡單的零知識證明和混幣器方法對用戶隱私保護的可行性不高,仍需要一套更完整的身份管理方案。
(二)身份標識符與DApp多對一的用戶隱私解決方案
在萬向區塊鏈行業研究報告《DID:一種全新的身份標識技術》中,我們詳細介紹了DID的技術原理,其核心方法在于:不同主體在不同時間、不同應用平臺、基于不同目的使用不同的DID標識符來完成身份驗證,而與每個DID標識符相關的行為數據都將保存在用戶可控的地址下。用Web 2.0的術語來解釋,即每次使用不同的用戶名和密碼登錄平臺,讓平臺無法關聯到某個具體的用戶身份,且所有的數據都保存在客戶有控制權的地址服務器中。這種方法能夠解決身份標識符與DApp一對一用戶隱私解決方案中出現的所有問題,包括通過大量數據對某個唯一地址的用戶畫像,或者是單個身份標識符的泄露而導致所有數據的泄露問題等。通過身份標識符與DApp的多對一,實現不同身份標識符實現行為數據的隔離,將從另外一個維度解決數據隱私問題。這是市場努力的方向,但仍有很多瓶頸需要解決,包括法律層面的、商業層面的、還有技術層面,在市場已有的各種分布式身份標識符解決方案中,還沒有多對一的用戶隱私解決方案真正被開發,大多仍然停留在概念階段。
思考與總結
通過上面內容的對比可以發現,Web 2.0和Web 3.0用戶隱私保護最大的區別在于:用戶是否對個人數據擁有絕對的控制權?從道德層面看,Web 3.0所推行的數據絕對控制權對大家很有誘惑力,這對于個人數據管理具有里程碑性的意義,能夠實現自己的數據自己做主;但從經濟和商業角度看,這種數據絕對控制權是否真的有價值?
這種價值可以分為兩個層面看,第一個層面是對用戶的價值;第二個是個人持有數據與經濟發展的價值是否一致?首先我們來討論對用戶的價值,用戶隱私保護更多是道德層面的價值,但從商業層面,Web 3.0沒有“慈善家”,所有數據隱私保護的解決方案需要有人買單,有多少用戶愿意為數據隱私平臺的開發成本買單?以及有多少人可以長期承受個人數據的維護成本(包括時間成本和資金成本),例如,當我們在銀行或通訊公司辦理業務時需要簽署合同,有多少客戶會花時間仔細閱讀合同內容?所以Web 3.0讓用戶花費時間成本和資金成本來維護個人數據,我們需要提出質疑;此外,習慣了使用免費網絡資源的用戶,在Web 3.0是否愿意為獲取資源而付費?
基于上述問題, Web 3.0的個別項目方也提出一些解決方案,其中包括個人數據交易市場,例如,當用戶拿回個人數據的控制權,將數據授權廣告商、研究機構和金融機構等使用,能夠從中獲取在Web 2.0階段無法得到的收益,用戶可以使用這部分收益來支付和彌補工具開發和數據維護的成本,這種方案聽起來很理想,但商業邏輯是否能經得起市場的考驗?我們需要提出質疑,根本原因在于個體數據對市場的價值到底有多少?這是一個很復雜的問題,暫不在本文討論。
與上述方案不同的是,數據隱私平臺在公鏈各類項目中備受歡迎,經濟模式方面也非常清晰,項目方開發數據隱私平臺并通過ICO方式籌集資金,隨著數字資產的價值上漲,項目方會獲得收益并吸引更多人加入到項目的維護和管理中,但這種模式在很多國家和地區存在監管合規性問題,如果脫離這種模式,又該怎么考慮經濟模式,即誰來為隱私平臺的開發買單?此外,在數字經濟社會中,如何突破中心化平臺的抵制?這些問題都需要進一步的解決方案。除了這些問題外,Web 3.0的隱私保護還有以下問題待解決。
(一)如何防止黑客利用隱私技術作惡?
2022年2月20日,黑客利用OpenSea為期一周的智能合約升級間隙,竊取了大量高價值系統的NFT,并通過以太坊隱私交易平臺Tornado.cash混幣1100ETH,導致OpenSea無法追蹤到黑客的交易地址。按照主流資產的地板價計算,黑客至少獲利416.6萬美元。從該事件我們可以發現,隱私技術能夠保護個人隱私,但也為作惡者提供了保護傘。當安全事件發生后,用戶也難以通過Web 2.0階段的安全保障進行維權。
(二)如何滿足監管合規要求?
當發生上述黑客攻擊事件,該如何保護用戶的合法權益及資產安全?KYC(了解你的用戶,Know Your Customer)必不可少,該如何進行KYC?誰負責KYC?以什么樣的方式進行KYC?在分布式解決方案下,這都需要新的解決思路。但需要防止因為KYC而導致個人數據的泄露,這將會讓其他隱私保護技術的努力全部付諸東流。
作者:萬向區塊鏈首席經濟學家辦公室 王普玉
審核:萬向區塊鏈首席經濟學家 鄒傳偉
Tags:WEBORTPORPORTweb3域名.tidLeForte CoinV Sports Chainesportstoken
時至今日,Layer2 將成為區塊鏈行業的重要基礎設施層這一趨勢已經被市場認可,而其中將計算和狀態存儲移至鏈下的 Rollups 有非常大的潛力成為以太坊關鍵擴容解決方案.
1900/1/1 0:00:00美國當地時間2022年3月9日,美國總統拜登正式簽署數字資產行政令,并在美國白宮官網發布全文,從政策、目標、美政府機構間協調、保護消費者投資者和企業的措施、促進金融穩定、降低系統性風險、限制非法.
1900/1/1 0:00:00后疫情時代,全球游戲市場規模持續擴大,行業態勢良好。據Newzoo發布的《2021全球游戲市場報告》,2021年的游戲市場將產生1803億美元的總收入,比2020年增長1.4%.
1900/1/1 0:00:00OpenSea 不算是去中心化應用,OpenSea 追求開放精神與平臺治理的,這種追求本身就是個矛盾體。烏俄戰爭進入第2 周,越來越多國際企業響應歐美政府的對俄制裁措施.
1900/1/1 0:00:00先說我這篇博客的結論:如果你計劃推出了一個擁有代幣的游戲,并且打算從一開始就讓代幣與外部加密交易所掛鉤,那么事實上,你可能從一開始就已經失敗了.
1900/1/1 0:00:00本文梳理自以太坊核心開發者 Peter Szilagyi 在個人社交媒體平臺上的觀點,律動 BlockBeats 對其整理翻譯如下:復雜程度是一個系統中經常被忽視的一面.
1900/1/1 0:00:00